Cutthroat Bill Skrevet 11. november 2011 Skrevet 11. november 2011 Hehe. Det var å ta litt hardt i. Men jeg vil gjerne at bilen skal tåle såpass vann og snø at jeg aldri trenger å bekymre meg.
Lami Skrevet 12. november 2011 Skrevet 12. november 2011 (endret) Oh yeah. Great! Gjengene i motorblokken (?) der skruene som holder fast eksospotten, er ødelagt!! Skruene går bare rundt og rundt og holdes ikke fast. WTF! Hvordan kan det gå ann da for faen. Større skruer funker ikke, for de skal gå gjennom eksosen, så da må jeg vel gjenge på nytt. Faen for en jobb. Må vel ut med hele motorem. Endret 12. november 2011 av Lami
xibriz Skrevet 12. november 2011 Skrevet 12. november 2011 Hva med litt lengre skruer å en mutter på baksiden?
Jotun Skrevet 12. november 2011 Skrevet 12. november 2011 (endret) Finnes masse stoffer du kan bruke til å få festet de skruene. Loctite har hvertfall produkter. Ville prøvd noen av de. Men litt usikker på om du da vil få de opp igjen på senere tidspunkt. Du kan glemme å gjenge opp på nytt hvis du ikke samtidig kan gå opp i dimensjon på skruene. Endret 12. november 2011 av Jotun
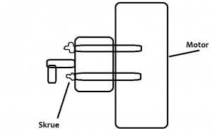
Lami Skrevet 12. november 2011 Skrevet 12. november 2011 (endret) Xibriz: tror ikke du skjønte det helt eller så formulerte jeg meg dårlig. Disse skruene går inn i motoren. Går ikke an å sette en muttur bak da. Loctite? Er det ikke bare til å få skruene til å sitte fast slik at de ikke er så lett å skru ut? Isåfall så når jeg skrudde i disse to skruene for å feste eksospotten, så brukte jeg Locktite (eller noe annet blå greie som skal holde skruene fast), men de løsnet selv om, hehe. Kan jeg ikke gjenge på nytt? Jeg kan ikke gå opp i størrelse på skruene, for da får jeg ikke de gjennom eksospotten og inn i motoren. Se bildet jeg lagde: Så større skruer går ikke :/ Endret 12. november 2011 av Lami
Jotun Skrevet 12. november 2011 Skrevet 12. november 2011 Loctite er en produsent. De lager fryktelig mye rart. Loctite produkter Er jo bare å sende en mail til de og forklare de. F.eks 270. Beskrivelse er: Skruer du ikke skal ta opp pga vedlikehold Du kan glemme å gjenge det opp igjen, da må du hvertfall ha en eller annen masse i først. For når du drog over gjengene så øker diameteren i hullet ditt. Skal du gjenge opp må du gjenge opp med større diameter enn du hadde fra før. Så da er jo problemet fortsatt at du ikke kan ha større skruer. Men en annen ting du kan prøve å gjøre hvis du har noen som har tilgang til utstyr er jo å borre opp hullene i eksosen? Burde være plass til litt større hull. Du trenger nok ikke noe mer enn f.eks fra 4,5 til 5mm, kanskje 5.5mm. Så er ikke så mye større.
xibriz Skrevet 13. november 2011 Skrevet 13. november 2011 Xibriz: tror ikke du skjønte det helt eller så formulerte jeg meg dårlig. Disse skruene går inn i motoren. Går ikke an å sette en muttur bak da. Ok, jeg tenkte at du hadde en slik blokk der skruhullene går tvers gjennom. Se bildet:
Lami Skrevet 13. november 2011 Skrevet 13. november 2011 Fant ikke igjen det locktite produktet jeg brukte :/ Men er også slik at i eksospotten så er det laget rør gjennom potta for skruene, så hvis jeg skal lage større hull så vil jeg kanskje ødelegge disse rørene og sånn at det blir hull og eksosen vil komme ut der med skruene. xibriz: Det er en 1/5 bensinbil :-) beklager, glemte å nevne det
xibriz Skrevet 13. november 2011 Skrevet 13. november 2011 Ok, tips nr. 2 Skru inn noen skruer som du får til å sitte som støpt med noe Locktite-produkt. Deretter kapper du hodene å bruker mutter på utsiden av potta
Deppss Skrevet 16. november 2011 Skrevet 16. november 2011 Tåler en elmotor satans med juling så lenge den ikke blir grillvarm?
sedsberg Skrevet 16. november 2011 Skrevet 16. november 2011 Tåler en elmotor satans med juling så lenge den ikke blir grillvarm? Kommer an på motoren og hva du mener med juling. Overbelastning vil føre til varmgang og det er stort sett det som tar knekken på de. Bortsett fra mekanisk slitasje i lagere etc. Sand og drit kan skade viklingene direkte hvis de kommer inn i motoren. Slag og krasj kan deformere motoren så den kan bli skada. Men det meste er "common sense". Blokkert rotor tror jeg er det eneste jeg kommer på som kan knekke en motor nesten umiddelbart.
Deppss Skrevet 16. november 2011 Skrevet 16. november 2011 Mente strømtrekk og sånt, men samma det... Jeg vurderer sterkt å kjøpe en form for kjøling til motorene, vann- eller luftljøing. Forslag?
sedsberg Skrevet 16. november 2011 Skrevet 16. november 2011 (endret) Er redd vannkjøling vil føre til mye høyere vekt, som igjen fører til mer belastning og større varmeutvikling. Så vinninga går opp i spinninga. Men di har jo diverse typer av disse: Edit: Du får også motorfester med kjøleribber som hjelper til med kjølinga. Edit2: Børstemotorer er litt vriene å kjøle siden viklingene sitter på rotoren og er isolert fra motorhuset. Endret 16. november 2011 av sedsberg
Deppss Skrevet 16. november 2011 Skrevet 16. november 2011 Tenker mer på "pro" med alt mulig Har sett en del på dette: pump weight : 11 grams radiator weight : 14 grams motor plate weight : 12 grams system assembled and filled : 47 grams Når jeg ser på vekta på dette, er ikke mye jeg beskymrer om over når det gjelder vekta. Men... da må jeg svi av $150 for dette og da har jeg litt mer lyst til å blande noe hjemme mekka og kjøpe saker. Jeg har en mistanke på at det koster mer enn det smaker og da lurer jeg om jeg skal bare gå for luftkjøling.
sedsberg Skrevet 16. november 2011 Skrevet 16. november 2011 (endret) Jeg ville gått for lufkjøling. For $150 er du jo ikke så langt unna et 16V HV4.5 børsteløst sett. Tror jeg gav $170 for det jeg hadde. Edit: Og børsteløse motorer er MYE enklere å kjøle siden viklingene ligger i selve motorhuset. Edit2: RC-Monster har en Mamba Max Pro combo (ESC og motor) for $170. 6S regulator med integrert BEC. Endret 16. november 2011 av sedsberg
vegham Skrevet 17. november 2011 Skrevet 17. november 2011 (endret) Tåler en elmotor satans med juling så lenge den ikke blir grillvarm? Når en elmotor blir for varm smelter isolasjonen (lakk) til viklingene. Det gjør at du får kortsluttning og lett kan ødelegge ESC. En svidd motor kan du fikse selv uten store vansker, en svidd ESC kan du ikke fikse. Det er forøverig mye bedre å kjøpe for stor motor og kjøre den lettere enn å kjøle den du har. Husk at all varmen som blir produsert er tapt energi. Endret 17. november 2011 av Wulong
Illus Skrevet 17. november 2011 Skrevet 17. november 2011 Husk at all varmen som blir produsert er tapt energi. En liten OT for å sette dette i perspektiv. En Bugatti Veyron har på papiret 1000hk til disposisjon. Motoren yter formidable 3000hk.. Det betyr med enkel hoderegning at hele 2000hk går til spille.. primært som varmetap.
Simen1 Skrevet 17. november 2011 Skrevet 17. november 2011 Hei, kan dere hjelpe meg litt i gang med tråden: RC-fly til fotografering
lain Skrevet 17. november 2011 Skrevet 17. november 2011 Crap, var innom rcbutikk med 1:10 sprint bilen, tenkte å få på noe annet enn drift dekk. (hadde med hele bilen) Så har de klart å selge meg dekk som ikke passer, enda jeg spurte spesifikk om de gikk på bilen, eller om vi skulle prøve dem på først. Da har man lært at man skal prøve før man kjøper i tilfeller det er usikkerheter om ting passer. Satser på at jeg får byttet dem inn igjen til uka, da jeg har kvittering.
Deppss Skrevet 17. november 2011 Skrevet 17. november 2011 Når en elmotor blir for varm smelter isolasjonen (lakk) til viklingene. Det gjør at du får kortsluttning og lett kan ødelegge ESC. En svidd motor kan du fikse selv uten store vansker, en svidd ESC kan du ikke fikse. Det er forøverig mye bedre å kjøpe for stor motor og kjøre den lettere enn å kjøle den du har. Husk at all varmen som blir produsert er tapt energi. Tenker mer på at så lenge motorene ikke blir smeltevarme så er alt greit...(?) Det har seg sånn at jeg har visse kriterier til ny motor og særlig ny ESC. Den må være vanntett og må tåle min 4s lipo. Den tapte enerien har jeg så langt brydd meg fint lite om siden jeg glatt får en kjøretid på over 30min
Anbefalte innlegg
Opprett en konto eller logg inn for å kommentere
Du må være et medlem for å kunne skrive en kommentar
Opprett konto
Det er enkelt å melde seg inn for å starte en ny konto!
Start en kontoLogg inn
Har du allerede en konto? Logg inn her.
Logg inn nå