csViRuS Skrevet 3. februar 2008 Skrevet 3. februar 2008 Vis du først er i gang og tukle med 220v (er ikke vanskelig hvis du bare har en viss peiling), så kan du jo like godt ta den helt ut og heller kutte kontakten fra wiien og lodde denne ledningen inn i strømforsyningen, der du kobler i ledningen fra utsiden..... Men da klipper du jo såklart i stykker strømledningen til wiien da.....
aGal Skrevet 3. februar 2008 Skrevet 3. februar 2008 MDF panel jeg ser du har brukt ? Akkurat slått opp sånne på vegga i kjellerstua her hjemme, enkel løsning Håper det blir bra ! Lykke til !
Mr.Anki Skrevet 3. februar 2008 Forfatter Skrevet 3. februar 2008 Stemmer aGal, de hadde ikke plater om ikke hadde noe profil så jeg tok bare slik. Fikk det veldig billig også grunnet skader.. Blir svart matt med klarlakk over bra?
aGal Skrevet 3. februar 2008 Skrevet 3. februar 2008 Stemmer aGal, de hadde ikke plater om ikke hadde noe profil så jeg tok bare slik. Fikk det veldig billig også grunnet skader.. Blir svart matt med klarlakk over bra? Går fint ann å bruke maling og rull om det kan vere et alternativ. Har ikke noe erfaring med klarlakk oppå vanlig lakk så det vil jeg ikke svare på.
Mr.Anki Skrevet 3. februar 2008 Forfatter Skrevet 3. februar 2008 Kan være en mulighet ja, men vil ha fargen fin og gjevn ikke så mange ugjenvheter vis dere skjønner. Lurer også på hvordan det er å frese mdf pleter, funker det bra?
aGal Skrevet 3. februar 2008 Skrevet 3. februar 2008 Kan være en mulighet ja, men vil ha fargen fin og gjevn ikke så mange ugjenvheter vis dere skjønner. Lurer også på hvordan det er å frese mdf pleter, funker det bra? Blir jevn og fin blir det om du bruker maling og rull. Ble i allefall det på mitt tv bord. Frese MDF skal vel funke fint, mange som freser ut ringer til høyttalerelementer etc. i mdf.
Mr.Anki Skrevet 3. februar 2008 Forfatter Skrevet 3. februar 2008 okei, fint å høre at det funker fint. Har tenkt til å frese runde kanter på helte kassen. Venter på noen deler fra netshop, som jeg er rimelig avhegig i å ha før jeg kan gjøre så veldig mye å bygge fronten. Men får håpe delene kommer i løpet av uken.
Bjonnar Skrevet 4. februar 2008 Skrevet 4. februar 2008 (endret) Ta en kikk på Goscinny sitt trekabinett her, han har sprklet og pussa en del. Jeg synes det ble en kjempefin finish. Husk at forarbeidet er minst like viktig som lakkeringen. Lykke til med nok et artig prosjekt Endret 4. februar 2008 av Bjonnar
BoC_SantaCruz Skrevet 5. februar 2008 Skrevet 5. februar 2008 kult at du hører på mutt farge forslag, evt vil du ha litt mer konge lakk gjør et godt forarbeide på boksen ta den med til en billakkerer å høre om han fort kan sprute på noe.. det hadde blitt rått.. e du heldig så tar en lakkerer det samtidig med en bil å du kansje slipper å betale for det..
Mr.Anki Skrevet 5. februar 2008 Forfatter Skrevet 5. februar 2008 Kan hende det blir noe lignende farge ja. Hva tror dere om dette hovedkortet?
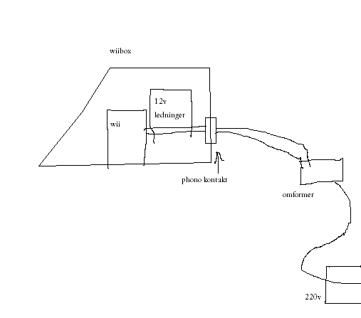
Snagga Skrevet 7. februar 2008 Skrevet 7. februar 2008 det med wii'en er egenlig veldig simpelt =D gjør som følger... på bildet wiibox.bmp hilsen snagga =)
Mr.Anki Skrevet 7. februar 2008 Forfatter Skrevet 7. februar 2008 Kan du si meg hvor jeg får kjøpt kontakter også eller?
Theo343 Skrevet 7. februar 2008 Skrevet 7. februar 2008 Kan du si meg hvor jeg får kjøpt kontakter også eller? Clas Ohlsson?
Mr.Anki Skrevet 7. februar 2008 Forfatter Skrevet 7. februar 2008 Tja, venter fortsatt på deler som aldri blir sendt fra Netshop.. Men fikk noen deler fra Vendur i dag Kanskje jeg legger ut et update på det i kveld.
Snagga Skrevet 7. februar 2008 Skrevet 7. februar 2008 Kan du si meg hvor jeg får kjøpt kontakter også eller? de får du kjøpt på biltema, clas, osv kjøpte faktisk noen skjøl i dag =D Snagga =)
Mr.Anki Skrevet 7. februar 2008 Forfatter Skrevet 7. februar 2008 Får en kjøpt akkuratt like kontakter? Med en slik skrå kant?
Snagga Skrevet 7. februar 2008 Skrevet 7. februar 2008 Får en kjøpt akkuratt like kontakter? Med en slik skrå kant? det vet jeg ikke men man får kjøpt slike: Snagga =)
Anbefalte innlegg
Opprett en konto eller logg inn for å kommentere
Du må være et medlem for å kunne skrive en kommentar
Opprett konto
Det er enkelt å melde seg inn for å starte en ny konto!
Start en kontoLogg inn
Har du allerede en konto? Logg inn her.
Logg inn nå