hawk_eye Skrevet 24. januar 2008 Skrevet 24. januar 2008 Trenger hjelp! Har et nyere geforce kort av 8xxx serien, På dette kortet har de brukt no som kalles hdtv out kobling, denne har 7 pinner, har prøvd å finne en slik kabel eller overgang til noe mer fornuftig. Men har altså ikke klart dette er det noen som kan hjelpe meg?
PatSharpX Skrevet 25. januar 2008 Skrevet 25. januar 2008 Skal du koble TVen til maskinen? Sikker på at det ikke er HDMI? Jeg har 8800GTS fra XFX, men har ikke noe HDTV out kobling.
hawk_eye Skrevet 27. januar 2008 Forfatter Skrevet 27. januar 2008 Skal du koble TVen til maskinen? Sikker på at det ikke er HDMI? Jeg har 8800GTS fra XFX, men har ikke noe HDTV out kobling. er ikke hdmi, er en rund plugg lik s-video, men det er syv pinner. dell kaller det for hdtv out. skal koble pcn til tvn ja.
KVTL Skrevet 27. januar 2008 Skrevet 27. januar 2008 Er ikke noe digital utgang det, men bare SVHS signal. Det fulgte kanskje med en splitter også, slik at du har forskjellig kontakter ut og muligens inn. Uansett kan du bare koble inn en S- VHS kontakt der. Men noen digital kilde er det dessverre ikke.
jonas_blomster Skrevet 27. januar 2008 Skrevet 27. januar 2008 Kan vel bruke en DVI->HDMI kabel, og da får man digitalt signal også?
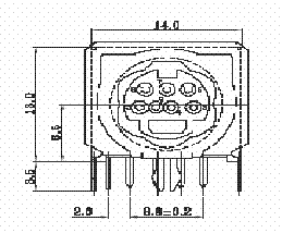
hawk_eye Skrevet 28. januar 2008 Forfatter Skrevet 28. januar 2008 quote name='KVTL' date='27/01-2008 : 18:10' post='10440280'] Er ikke noe digital utgang det, men bare SVHS signal. Det fulgte kanskje med en splitter også, slik at du har forskjellig kontakter ut og muligens inn. Uansett kan du bare koble inn en S- VHS kontakt der. Men noen digital kilde er det dessverre ikke. hmm.. merkelig... The NVIDIA GeForce 8300 GS GPU-based graphics card installed in your computer contains a 7-pin HDTV-Out connector as shown below. The connector has all the S-Video signals but no video capture signals and has support for component-out and composite-out via a dongle. The table below lists the connector pinout. Betyr det at jeg må ha en overgang da? Får jo ikke en s-video plugg inn der. Men jeg har jo ikke så mye peiling da:P
Anbefalte innlegg
Opprett en konto eller logg inn for å kommentere
Du må være et medlem for å kunne skrive en kommentar
Opprett konto
Det er enkelt å melde seg inn for å starte en ny konto!
Start en kontoLogg inn
Har du allerede en konto? Logg inn her.
Logg inn nå