kongekrabben Skrevet 20. april 2006 Skrevet 20. april 2006 Eg trenger hjelp til symbolet for ein frekvensomformer i eit hovudstraumskjema. Og så skal eg koble til noken kabler til frekvensomformern (start) til noken klemmer (5 og8) som du kan sjå på denne teikningen --->frekvensomformer.bmp og det eg lurte på var om eg bare kunne teikne det sånn som her og bare putte det inni teikningen eller om det finst ein meir korrekt måte og teikne det på..?? Og så lurte eg på om noken kunne vise meg korleis eit symbol for nødstopp, start stopp er, det begynner og bli snart 2 år siden sist eg teikna desse så eg slite litt med og huske kossen alt var. Eg skal også tegne inn eit potmeter i ein styrestraum skjema, så vist noken vett korleis eg ska tegne inn dette hadde det vore sjefs.
chemical Skrevet 21. april 2006 Skrevet 21. april 2006 Eg trenger hjelp til symbolet for ein frekvensomformer i eit hovudstraumskjema.Og så skal eg koble til noken kabler til frekvensomformern (start) til noken klemmer (5 og8) som du kan sjå på denne teikningen --->frekvensomformer.bmp og det eg lurte på var om eg bare kunne teikne det sånn som her og bare putte det inni teikningen eller om det finst ein meir korrekt måte og teikne det på..?? Og så lurte eg på om noken kunne vise meg korleis eit symbol for nødstopp, start stopp er, det begynner og bli snart 2 år siden sist eg teikna desse så eg slite litt med og huske kossen alt var. Eg skal også tegne inn eit potmeter i ein styrestraum skjema, så vist noken vett korleis eg ska tegne inn dette hadde det vore sjefs. 5954968[/snapback] Heisann. Du det med frekvensomformeren er jeg ikke sikker på, men Start, Stop, og nødstopp har jeg klart å tegne til deg Symboler.bmp
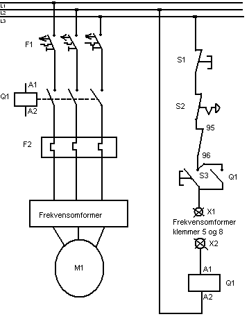
kongekrabben Skrevet 21. april 2006 Forfatter Skrevet 21. april 2006 komplett_skjerma.bmp her er ein kladd Trur dette kan gå...?? Vist noken har noke og sei på detta så har eg veldig lyst til og høyra noke konstruktiv kritikk...
chemical Skrevet 21. april 2006 Skrevet 21. april 2006 komplett_skjerma.bmp her er ein kladd Trur dette kan gå...??Vist noken har noke og sei på detta så har eg veldig lyst til og høyra noke konstruktiv kritikk... 5959974[/snapback] Joda ser bra ut det. Men jeg lærte at Nødstopp skal alltid være først i kretsen. så kan du jo skrive 1 og 2 på stopp og nødstopp og 3og4 på start. 1-2-3-4-5-6 på sikring samme med motorvern.
Anbefalte innlegg
Opprett en konto eller logg inn for å kommentere
Du må være et medlem for å kunne skrive en kommentar
Opprett konto
Det er enkelt å melde seg inn for å starte en ny konto!
Start en kontoLogg inn
Har du allerede en konto? Logg inn her.
Logg inn nå